未来美业【Wln.26A.Top】
系统配置(以及产品介绍)
小程序支付参数配置
小程序退款参数配置
SSL证书配置(私有化以及OEM版)
应用绑定
网站配置
网站配置---网站配置
网站配置
主题配置
客服配置
过审配置
广告配置
闭站广告
小程序客服配置
文字配置
网站配置---消息配置
短信配置
打印配置
公告配置
退款地址
网站配置---海报配置
分销海报
门店海报
成员海报
商城海报
套餐海报
服务项目海报
文章海报
网站配置---会员配置
会员卡配置
充值卡配置
抽奖配置
网店配置---门店配置
手机店长权限
店员权限
技师预约短信
子管理员权限
预约店长通知
门店数量
网站配置---首页排版
网页配置- --轮播图
网站配置---自定义导航
网站配置---模板消息
下单
团购
审核
短信配置
用户列表
用户列表---用户列表
产品管理
产品管理---产品分类
产品管理---服务项目
产品管理---商城
产品管理---预约时间
采集助手
会员中心
会员中心---优惠券
会员中心---抽奖奖品
会员中心---积分商城
会员中心---生日礼包
门店管理
门店管理---门店管理
门店管理---门店项目
门店管理---店员管理
门店管理---店员排班
门店管理---门店套餐
订单管理
订单管理---产品订单
订单管理---团购订单
订单管理---预约订单
订单管理---商城订单
订单管理---套餐订单
订单管理---中奖记录
订单管理---退款申请
订单管理--- 团购列表
消息记录
消息记录---充值记录
消息记录---充值卡记录
消费记录---买单记录
消息记录--分佣纪录
消息记录---套餐使用记录
消息记录---积分兑换记录
提现申请
提现申请---分佣提现
提现申请---员工提现
新人专区
新人专区---新人礼包
新人专区---礼包内容
配货中心
配货中心---分类
配货中心---货品
配货中心---订单
文章管理
文章管理---文章
文章管理---产品评论
文章管理---技师评论
文章管理---客服记录
文章管理---文章分类
文章管理---商城评论
收入统计
收入统计---门店统计
收入统计---统计报表
手机端管理中心
七牛云配置
分销配置
分销配置---分销配置
分销配置---分销审核
直播管理
直播管理---轮播图
直播管理---直播
直播管理---后台直播列表
直播管理--- 回放管理
常见问题
小程序页面地址
分销追踪问题
未来鸟:企业数字化转型奔腾的力量!
-
+
首页
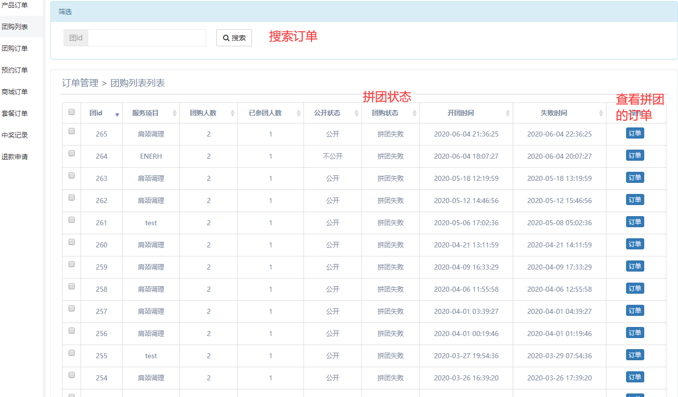
订单管理--- 团购列表
#### 团购列表 #### 团购拼团订单显示 可以查看拼团状态 
未来神鸟
2021年1月12日 14:47
转发
收藏文档
上一篇
下一篇
手机扫码
复制链接
手机扫一扫转发分享
复制链接
Markdown文件
Word文件
PDF文档
PDF文档(打印)
分享
链接
类型
密码
更新密码
有效期
AI